Mitee-Bite Dyna-Force® Clamp - 28320
Dyna-Force® Clamps
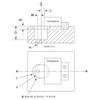
The majority of the Dyna-Force® clamp is below the surface of the fixture which provides excellent clamp support and makes for a very low profile. The clamp jaw slides on an angle for positive downforce.
The clamp jaw is available with smooth or serrated faces.
The support surface of the Dyna-Force® clamp can be installed flush with the fixture plate or raised to hold the workpiece off the fixture, enabling drill-through.
Features:
- Incredible Clamping and Hold Down Power
- Low Profile, Compact Design
- 17-4 PH Stainless Steel
- Smooth or Serrated
- Stainless steel screws and retaining rings are available for EDM applications
PATENT NO. 5964458
Dyna-Force® Installation:
- Bore ℄ of the hole "L" distance from edge of workpiece
- Drill and tap "H" to mount clamp in pocket
- Machine counter bore if recessing clamp into fixture
- Provide a back stop to locate the part
NOTES:
- "N*" – To have rest pad flush with fixture, use the dimension provided. To have the rest pad above the fixture surface, reduce the depth accordingly.
- For dimensions I and J, use a tolerance of +.1/-0mm. For dimension L and O, use +.1/-.1mm.
Specifications - Metric:
| Part No. | 28320 |
| Clamp Jaw† & Hardness | Smooth 34RC |
| A* | 25 |
| B | 29.9 |
| C | 24 |
| D | 24.9 |
| E | 5 |
| F | 15 |
| G - Min | 4.5 |
| G - Opt. | 6.5 |
| G - Max | 8.25 |
| H | M6 or 1/4-20 |
| I | 30 |
| J | 25 |
| K | 6.5 |
| L | 5.65 |
| M | 6 |
| N | 5 |
| O | 25 |
| Clamp Travel | 2.2 |
| Drive Screw | M8x16mm |
| Key Size | 6mm |
| Max Torque | 17.6 (Ft/Lbs), 23.9 (N.m) |
| Holding Force | 2,600 (Lbs), 11565 (N.) |
| Replacement Insert** | 28484 (smooth) |
† Smooth jaw only will have relief cut
* Body diameter
** Includes screw and retaining ring
Click to View the Full Series Specifications
View the Instruction Sheet
See all Mitee-Bite Dyna-Force® Clamps
For more info, visit www.p65warnings.ca.gov.
